2026-02-28
2026-02-28
2026-02-28
了解一下,冷凍雞翅進口報關流程是這樣的;冷凍雞翅進口報關流程|進口冷凍雞翅尖報關代理|雞翅中進口代理報關行|冷凍雞翅根進口清關公司。
臻力供應鏈是一家為企業提供專業的“全球進口一條龍服務”的物流供應鏈服務公司。從2004年公司成立起,經過15年的發展,目前在擁有10家公司,覆蓋沿海國內的主要口岸,從華北的大連港一直延伸到華南的深圳港。
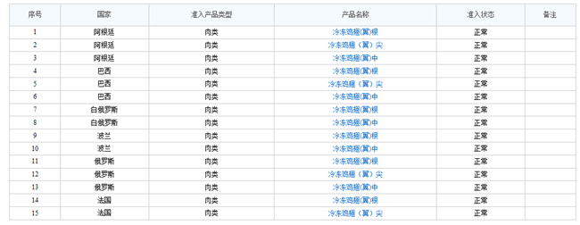
冷凍雞翅允許進口的國家有:阿根廷、巴西、白俄羅斯、波蘭、俄羅斯、法國、泰國、智利,其中最常進口的是“阿根廷、巴西、俄羅斯、智利”。(如需了解冷凍雞肉、雞爪等進口準許國家,您可以提供貨物的海關編碼給我們幫您查詢)。


冷凍雞翅進口報關
作為全球的雞肉消費大國,禽肉類進口逐年上升,那么禽肉類進口商如何從國外進口,需要哪些資質才能進口,進口報關流程是怎樣的?以下是冷凍雞翅進口報關流程,希望能幫到您!

冷凍雞翅進口報關
冷凍禽肉類進口報關,國內進口商的企業資質要求:
(1)進出口經營權;
(2)肉類的經營范圍及肉類資質;
(3)進口食品進出口商備案企業備案(進口辦理);
(4)海關企業年報申報、海關無紙化簽約、電子委托申報簽約(進口辦理)
冷凍雞翅進口報關流程:
簽訂合同--食品中文標簽審核--備貨 --準備冷凍雞翅進口報關單證--發貨到港口--換單--報檢--報關--交稅--貼標簽 -- 申請商檢查驗---貨物放行
關于冷凍雞爪進口報關:
優質凍雞爪主要以巴西、阿根廷、智利、澳大利亞為主,品質好,個頭比較大。隨著中智、中澳自貿協定實 施,進口冷凍肉類關稅逐步下調,進口成本更低。冷凍雞翅進口報關專業代理肉類食品一般貿易進口報關,為企業提供各種冷凍肉類產品進口代理服務,冷凍牛肉、冷凍羊肉冷凍雞腳、冷凍雞爪、冷凍雞翅、冷凍雞腿等,我司在肉類凍柜進口清關方面擁多年進口報關經驗,凍品進口報關流程非常熟悉,歡迎咨詢我們!
冷凍雞翅等凍品進口報關有些單證我司可以代辦,咨詢了解方式:點擊我司網站網頁右下角的咨詢框【在線咨詢】;或者撥打我司全國免費咨詢電話(注:如是下班時間,可給我們留言,我們的客服小姐姐會在看到的第一時間給您致電!上班時間:8:45-18:00)
注明:本文圖片來源于網絡,如有侵權請聯系我們刪除。
上海xx圖書有限公司是在百度搜索找到我司的,想從德國空運書籍到上海,我司代理過各種書籍,例如課本、書刊、報紙等進口清關代理,對于各類書籍進口的流程以及注意事項都比較熟悉,我司擁有大量的書籍進口清關代理
2026-02-28
廣州XX食品公司想從馬來西亞進口預包裝食品速溶咖啡固體飲料到廣州市南沙區,在百度上搜索“馬來西亞速溶咖啡進口報關流程”,找到我司臻力,成立于2012年,全國10家分公司(上海總部、廣州、深圳、北京、寧
2026-02-28
廣州XX食品貿易公司在必應搜索“廣州果汁飲料進口報關公司哪家好”,找到我司臻力,成立于2012年,想從澳大利亞進口紅葡萄果汁飲料到廣州市黃埔區,客服立即安排資深顧問經理,迅速處理紅葡萄果汁飲料進口報關
2026-02-28
巴旦木進口準入的國家有:美國、澳大利亞、哈薩克斯坦、吉爾吉斯斯坦、日本、泰國,天津XX食品貿易公司在百度搜索“天津堅果進口報關公司哪家好”,找到我司臻力,成立于2012年,有20年食品進口報關經驗,于
2026-02-28
動物標本/生物標本在教學及科研領域中發揮著重要作用,我司臻力給客戶操作過許多蝴蝶標本等動物標本進口清關案例,有20年的進口報關經驗,下面為您分享天津進口南美蝴蝶標本報關資料以及天津進口南美蝴蝶標本報關
2026-02-28
廣州XX酒類貿易公司,在百度搜索“廣州紅酒進口報關公司哪家好”,找到我司臻力,了解到我們公司成立于2012年,20年來專注葡萄酒、白葡萄酒、紅酒、白酒、啤酒、氣泡酒、清酒、米酒、白蘭地、威士忌、伏特加
2026-02-28
廣州XX酒類貿易公司,在百度搜索“紅酒進口報關公司哪家好”,找到我司臻力成立于2012年,有19年酒類進口報關經驗,可代理紅葡萄酒、白葡萄酒、白酒、啤酒、氣泡酒、清酒、米酒、白蘭地、威士忌、伏特加、朗
2026-02-28
臻力進口報關公司有20年代理操作礦石進口通關經驗,可提供進口鈦精礦報關流程一站式門到門,臻力總部在上海,全國10家分公司,深圳、武漢、上海、寧波、昆山、北京、天津、大連、青島等全國主要口岸均有服務網點
2026-02-28

注明:本網站圖片來源于網絡,如有侵權請聯系我們刪除。